
Vilebrequin Racing pour le carter d'origine adapté à ton Piaggio Ciao, Si, Bravo, Boxer, Grillo Mofa / Cyclomoteur.
Ce vilebrequin finement équilibré convient à tous les cylindres avec un axe de piston de 10 mm et convainc par sa finition de haute qualité.
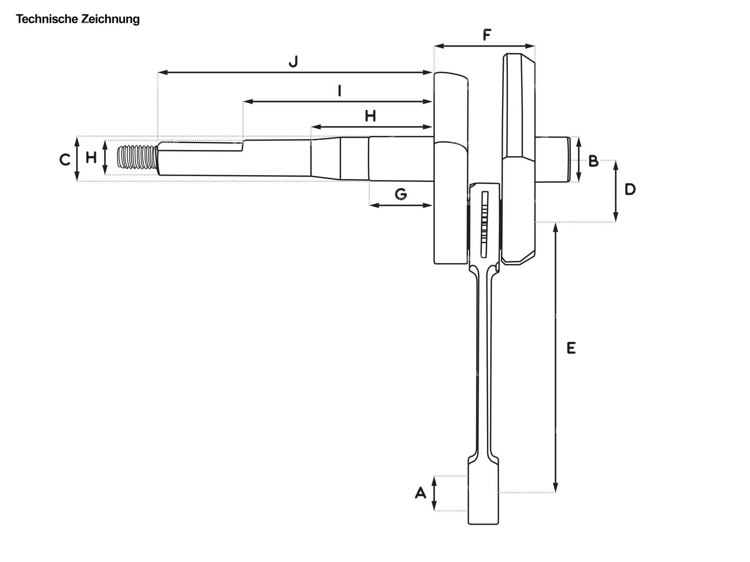
Oeil de bielle (A) : 13.0 mm
Ø ; siège de palier côté droit (B) : 15.0 mm
Ø ; siège de palier côté opposé (C) : 15.0 mm
Course (2xD) : 43.0 mm
Longueur de la manivelle (E) : 87.0 mm
Largeur des manivelles (F) : 32.5 mm
1e talon (G) : 21.7 mm
2e talon (H) : 44.0 mm
3e talon (I) : 63.4 mm
Longueur totale côté manivelle (J) : 91.5 mm
Ø ; Vario / Pivot d'embrayage (H) : 12.0 mm
Dimensions roulement à aiguilles : Ø ; 10 / 13 x 14 mm (axe 10)
Filetage : M10 x 1.25 mm
Remarque: Pour le montage, une rondelle d'ajustage de 16 x 0.5 mm doit être placée entre le vilebrequin standard et ses paliers principaux.
Pour que l'arbre de tuning RHQ puisse être monté dans le carter moteur d'origine, celui-ci doit être un peu usiné. De plus, le vario- ou mono-coupleur avant doit être adapté
En plus d'une nouvelle clavette demi-lune, d'un roulement de bielle et d'un écrou hexagonal plat, la livraison comprend également des instructions pour pouvoir effectuer les modifications.
Tu trouveras les rondelles d'écartement correspondantes ainsi que d'autres pièces de montage dans les articles accessoires.
Produit de qualité du fabricant italien Malossi.
| Fabricant | Malossi |
| Matériau | Acier |
| Type de joue | standard |
| Course du vilebrequin | 43 mm |
| Type de filetage | MF10x1.25 (filetage fin) |
| Ø pivot d’accouplement/pivot vario | 12 mm |
| Longueur de bielle centre-centre | 87 mm |
| Longueur totale du maneton côté allumage | 91.5 mm |
| Ø des joues de manivelle | 70 mm |
| Ø de l’axe du piston (B) | 10 mm |
| Longueur du filetage | 14 mm |
| Ø œil de bielle | 13 mm |
| Siège de palier droit | 15 mm |
| Ø siège du palier (côté allumage) | 15 mm |
| Dimension du roulement à aiguilles | 10 / 13 x 14 (axe 10) |
| Largeur des joues de manivelle | 32.5 mm |
| Longueur 1er paragraphe | 21.7 mm |
| Longueur 2e paragraphe | 44 mm |
| Longueur 3e alinéa | 63.4 mm |
| Ø 1er épaulement (côté accouplement) | 15 mm |
| Ø 2e alinéa (côté accouplement) | 14.4 mm |
| Ø 3e alinéa (côté accouplement) | 12 mm |
| Poids | 730 g |
| Nombre de vitesses | 1 pcs |
| Champ d'application | Tuning |
| Piaggio | Ciao - P , SC , PX , C24 Si Bravo / Super Bravo Boxer Grillo Gilera CBA Gilera Citta |
Accessories & Related Products
swiing® ingenious Extracteur de volant d'inertie | Piaggio Ciao, SI, Bravo, Boxer
Clé de tirage: 10 mm · Clé de tirage: 17 mm · Ouverture de clé Vis: 19 mm · Fabricant: swiing® pièces ingénieuses · Matériau: Acier · Surface: galvanisé bleu · Surface: noirci · Type de filetage: MF12x1.5 (filetage fin) · Type de filetage: MF17x1 (filetage fin) · Nombre de composants: 3 pcs · Diamètre: 12 mm · Diamètre: 24 mm · Longueur totale: 100 mm · Champ d'application: Outil de (dé)montage
21,10 EUR
18,70 EUR
Mazzucchelli vilebrequin "original" 10 mm KoBo | Piaggio Ciao, SI, Bravo, Boxer
Dimension du roulement à aiguilles: 10 / 13 x 14.2 mm (axe 10) · Fabricant: Mazzucchelli · Matériau: Acier · Type de joue: standard · Champ d'application: Original · Champ d'application: Standard · Type de filetage: M8x1.25 (filetage standard) · Ø pivot d’accouplement/pivot vario: 12 mm · Course du vilebrequin: 43 mm · Longueur de bielle centre-centre: 87 mm · Longueur totale du maneton côté allumage: 90 mm · Longueur totale du maneton côté allumage: 106 mm · Ø des joues de manivelle: 69.7 mm · Ø œil de bielle: 13 mm · Longueur du filetage: 16 mm · Siège de palier droit: 15 mm · Ø de l’axe du piston (B): 10 mm · Ø siège du palier (côté allumage): 15 mm · Largeur des joues de manivelle: 33 mm · Longueur 1er paragraphe: 21 mm · Longueur 2e paragraphe: 44 mm · Longueur 3e alinéa: 63.5 mm · Ø 1er épaulement (côté accouplement): 15 mm · Ø 2e alinéa (côté accouplement): 14.4 mm · Ø 3e alinéa (côté accouplement): 12 mm · Temps de commande d’admission: 130 ° · Temps de commande avant O.T: 77 ° · Temps de commande selon O.T: 53 ° · Poids: 695 g · Nombre de vitesses: 1 pcs
176,40 EUR
Joint d'arbre NBR 15/24/5 AS
Résistance à la température (min.): -30 - 100 °C · Type de bague à lèvres: AS - Avec enveloppe extérieure caoutchoutée, une lèvre d'étanchéité et une lèvre anti-poussière. · Matériau: NBR · Surface: caoutchouté · Ø intérieur: 15 mm · Ø extérieur: 24 mm · Largeur: 5 mm
5,75 EUR
Les fans de mobylette aussi acheté
Kit de cylindres Polini Racing 43 mm y compris culasse 10 mm KoBo | Piaggio Ciao, Bravo, Boxer
Diamètre nominal: 43 mm · Fabricant: Polini · Matériau: Fonte grise · Surface: sablé · Cylindrée: 63 ccm · Course du vilebrequin: 43 mm · Ø du col du cylindre: 45.7 mm · Ø sortie extérieure: 22.4 mm · Ø intérieur de la sortie: 18.1 mm · Ø de l’axe du piston (B): 10 mm · Type de sortie: pincé · Nombre de points de fixation: 3 pcs · Schéma des trous [mm]: 55 x 34 · Décompresseur: Oui · Camouflé: Non · Champ d'application: Tuning
282,30 EUR
Culasse Polini pour kit cylindre 38.4 - 43 mm | Piaggio Ciao, SI, Bravo, Boxer
Fabricant: Polini · Matériau: Aluminium · Camouflé: Non · Champ d'application: Tuning · Ø du cylindre: 38.4 - 43 mm · Longueur totale: 118 mm · Hauteur: 58 mm · Largeur: 85 mm · Filetage des bougies: long · Décompresseur: Oui
64,60 EUR







