
Vilebrequin adapté à tous les modèles de cyclomoteurs Piaggio (Ciao, Si, Bravo, Boxer, Grillo)
.Ce vilebrequin finement équilibré convient à tous les cylindres avec un axe de piston de 10 mm et convainc par sa finition de haute qualité.
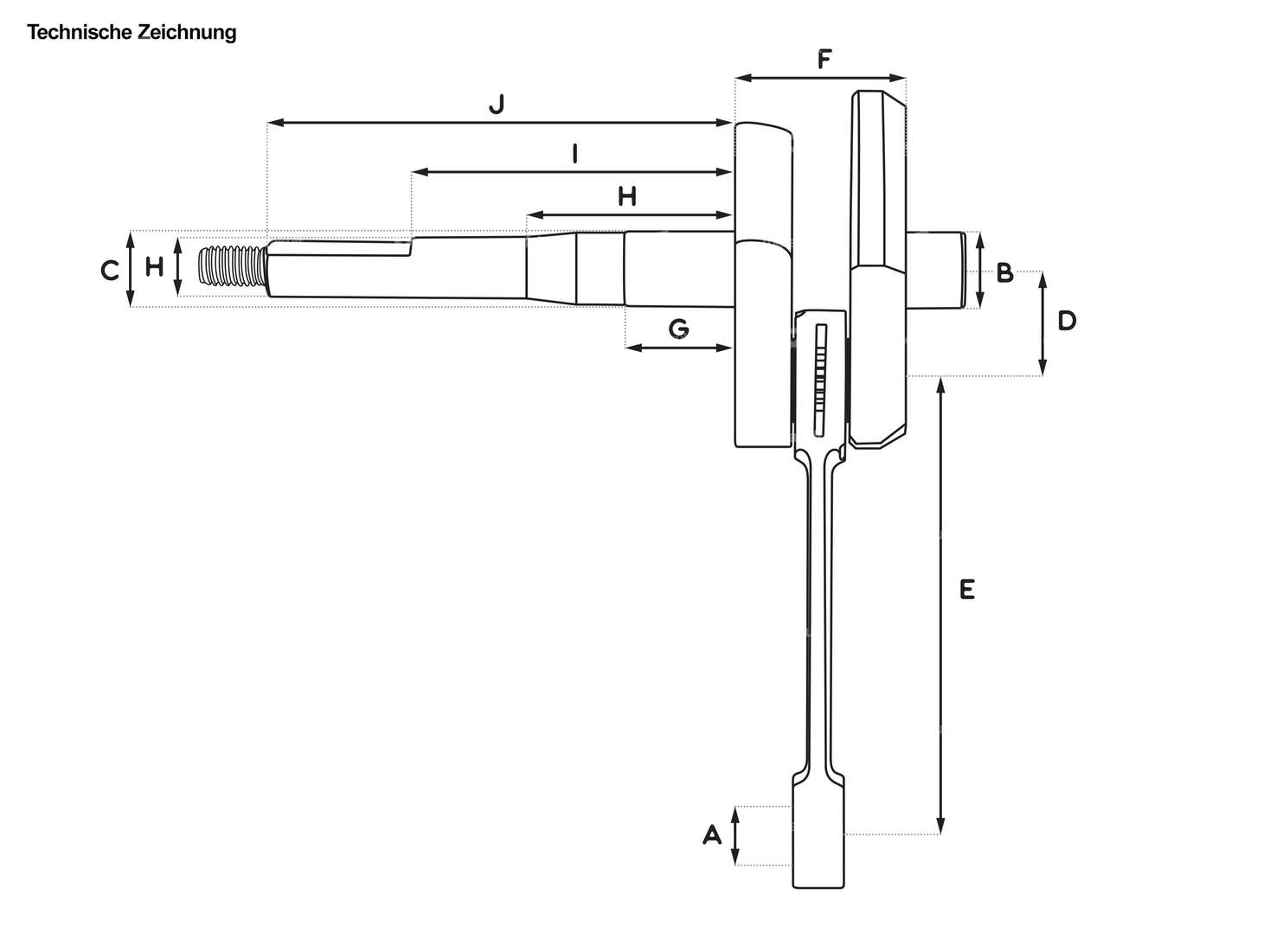
Oeil de bielle (A) : 13.0 mm
Ø ; siège de palier côté droit (B) : 15.0 mm
Ø ; siège de palier côté opposé (C) : 15.0 mm
Course (2xD) : 43.0 mm
Longueur de la manivelle (E) : 87.0 mm
Largeur des manivelles (F) : 33.0 mm
1e talon (G) : 21.0 mm
2e talon (H) : 44.0 mm
3e talon (I) : 63.5 mm
Longueur totale côté manivelle (J) : 90.0 mm
Ø ; Vario / Pivot d'embrayage (H) : 12.0 mm
Dimension roulement à aiguilles : Ø ; 10 / 13 x 14.2 mm (axe 10)
Filetage : M8 x 1.25 mm
Remarque: Pour le montage, il faut insérer une rondelle d'ajustage de 16 x 0.5 mm entre le vilebrequin standard et ses paliers principaux.
Pour le montage, vérifier si la roue polaire est bien placée sur le cône. Selon le lot de vilebrequins ou la roue polaire utilisée, la clavette doit être légèrement adaptée.
Tu trouveras les rondelles d'écartement correspondantes dans les accessoires.
Produit de qualité du fabricant italien Mazzucchelli.
Numéro de pièce détachée d'origine Piaggio : 1841545
| Fabricant | Mazzucchelli |
| Matériau | Acier |
| Type de joue | standard |
| Course du vilebrequin | 43 mm |
| Ø pivot d’accouplement/pivot vario | 12 mm |
| Longueur de bielle centre-centre | 87 mm |
| Longueur totale du maneton côté allumage | 90 mm, 106 mm |
| Ø des joues de manivelle | 69.7 mm |
| Ø œil de bielle | 13 mm |
| Siège de palier droit | 15 mm |
| Ø de l’axe du piston (B) | 10 mm |
| Ø siège du palier (côté allumage) | 15 mm |
| Type de filetage | M8x1.25 (filetage standard) |
| Longueur du filetage | 16 mm |
| Dimension du roulement à aiguilles | 10 / 13 x 14.2 mm (axe 10) |
| Largeur des joues de manivelle | 33 mm |
| Longueur 1er paragraphe | 21 mm |
| Longueur 2e paragraphe | 44 mm |
| Longueur 3e alinéa | 63.5 mm |
| Ø 1er épaulement (côté accouplement) | 15 mm |
| Champ d'application | Standard, Original |
| Ø 2e alinéa (côté accouplement) | 14.4 mm |
| Ø 3e alinéa (côté accouplement) | 12 mm |
| Temps de commande d’admission | 130 ° |
| Temps de commande avant O.T | 77 ° |
| Temps de commande selon O.T | 53 ° |
| Poids | 695 g |
| Nombre de vitesses | 1 pcs |
| Piaggio | Ciao - P , SC , PX , C24 Si Bravo / Super Bravo Boxer Grillo |
Accessories & Related Products
swiing® ingenious Extracteur de volant d'inertie | Piaggio Ciao, SI, Bravo, Boxer
Surface: galvanisé bleu · Surface: noirci · Clé de tirage: 10 mm · Clé de tirage: 17 mm · Fabricant: swiing® pièces ingénieuses · Nombre de composants: 3 pcs · Matériau: Acier · Diamètre: 12 mm · Diamètre: 24 mm · Longueur totale: 100 mm · Ouverture de clé Vis: 19 mm · Type de filetage: MF12x1.5 (filetage fin) · Type de filetage: MF17x1 (filetage fin) · Champ d'application: Outil de (dé)montage
21,10 EUR
Malossi roulements à aiguilles 10/13/14.5 cage en alu axe de piston
Type de palier: Couronne de roulement à aiguilles · Dimension du roulement à aiguilles: 10/13 x 14.5 · Fabricant: Malossi · Cage de roulement: Cage en tôle d'acier · Largeur: 14.5 mm · Ø intérieur: 13 mm · Ø extérieur: 1 mm
17,50 EUR
Joint d'arbre NBR 15/24/5 AS
Résistance à la température (min.): -30 - 100 °C · Type de bague à lèvres: AS - Avec enveloppe extérieure caoutchoutée, une lèvre d'étanchéité et une lèvre anti-poussière. · Matériau: NBR · Surface: caoutchouté · Largeur: 5 mm · Ø intérieur: 15 mm · Ø extérieur: 24 mm
5,75 EUR
swiing® ingenious 6202 Palier factice 15/35/11 Aluminium
Type de palier: roulements rainurés à billes · Numéro de stock: 6202 · Ø intérieur: 15 mm · Ø extérieur: 35 mm · Largeur: 12 mm · Fabricant: swiing® pièces ingénieuses · Champ d'application: Accessoires d'atelier · Matériau: Aluminium · Champ d'application: Outils spéciaux · Surface: anodisé
11,70 EUR
Les fans de mobylette aussi acheté
Malossi Kit de cylindres 46.5 mm sans culasse 10 mm KoBo | Piaggio Ciao, SI, Bravo, Boxer
Diamètre nominal: 46.5 mm · Fabricant: Malossi · Matériau: Fonte grise · Surface: sablé · Cylindrée: 73 ccm · Course du vilebrequin: 43 mm · Ø du col du cylindre: 50 mm · Ø sortie extérieure: 22.4 mm · Ø intérieur de la sortie: 18.1 mm · Nombre de points de fixation: 3 pcs · Ø de l’axe du piston (B): 10 mm · Type de sortie: pincé · Schéma des trous [mm]: 55 x 34 · Décompresseur: Oui · Camouflé: Non · Champ d'application: Tuning
170,50 EUR
Polini Speed Engine boîtier moteur allumage électronique | Piaggio Ciao, SI, Bravo, Boxer
Numéro de stock: 6202 · Fabricant: Polini · Matériau: Aluminium · Surface: sablé · Couleur: argent · Course du vilebrequin: 43 mm · Longueur totale: 215 mm · Largeur: 175 mm · Mode d'allumage: Électronique · Hauteur: 104 mm
247,00 EUR
SKF 6202 C3 Roulements à billes 15/35/11
Type de palier: roulements rainurés à billes · Numéro de stock: 6202 · Ø intérieur: 15 mm · Largeur de la bague intérieure: 11 mm · Fabricant: SKF · Jeu de palier: C3 · Cage de roulement: Cage en tôle d'acier guidée par des billes · Ø extérieur: 35 mm · Largeur: 11 mm · Puch numéro OEM: 900.4.6202
11,70 EUR
Olympia pince couvre cylindre | Piaggio Ciao, SI, Bravo, Boxer
Fabricant: Olympia · Couleur: noir · Matériau: Acier à ressort · Surface: bruni · Longueur totale: 23.9 mm · Largeur: 16.25 mm · Hauteur: 24 mm · Nombre de points de fixation: 1 pcs · Piaggio numéro OEM: 008455 · Piaggio numéro OEM: 013963 · Piaggio numéro OEM: 139122
5,40 EUR
swiing® revival set de goujons M7x120 mm cylindre | Piaggio Ciao, SI, Bravo, Boxer
Fabricant: swiing® revival parts · Matériau: Acier · Surface: galvanisé bleu · Diamètre: 6.2 mm · Entraînement: Six pans extérieurs · Longueur totale: 120 mm · Type de filetage: M7x1 (filetage standard) · Longueur du filetage: 25 mm · Classe de résistance: 8 · Classe de résistance: 8.8 · Clé de serrage: 11 mm
13,80 EUR
swiing® revival Kit de vis pour capot de ventilateur galvanisé | Piaggio Ciao, SI, Bravo, Boxer
Fabricant: swiing® revival parts · Matériau: Acier · Champ d'application: Standard · Surface: galvanisé bleu · Entraînement: cruciforme · Tête de vis: Panhead · Type de filetage: M5x0.8 (filetage standard) · Nombre de composants: 8 pcs
5,75 EUR












